Models > 3212H

3212H (990572) Simplicity Lawn Tractor

Jump to:

Find Part by Name

Keep searches simple, eg. "belt" or "pump".

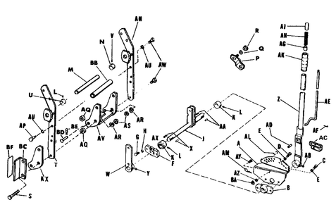
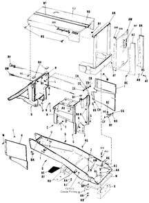
Diagrams for 3212H

Viewing 16 of 16
Keep searches simple, eg. "belt" or "pump".
Key-ignition indak
In Stock
Order now and your part arrives by Apr 9
This is a genuine part which is supplied directly by the original equipment manufacturer and is used with Simplicity riding lawn mower. The fuel cap seals the fuel tank to ensure it stay contained as ...
No Longer Available
$13.81
On Order
Seal oil
No Longer Available
Seal-oil 0.875id x 1.
On Order
This is an authentic replacement part, sourced from the original manufacturer for use with lawnmower engines. The special seal is commonly used to prevent oil leaks at the connection between the axle ...
No Longer Available
Special Order
$9.02
In Stock
Order now and your part arrives by Apr 9
Special Order
In Stock
Order now and your part arrives by Apr 9
On Order
Gasket-bevel gear 0.0
Special Order

Questions and Answers

We're sorry, but our Q&A experts are temporarily unavailable.
Please check back later if you still haven't found the answer you need.